Startseite ProdukteLaborprüfmaschine

ISO5659-2 Plastic Smoke Density Tester Lab Testing Machine

Bescheinigung
CHINA DONGGUAN DAXIAN INSTRUMENT EQUIPMENT CO.,LTD zertifizierungen
CHINA DONGGUAN DAXIAN INSTRUMENT EQUIPMENT CO.,LTD zertifizierungen
Kunden-Berichte
Bevor ich die Maschine kaufe, sehe ich unseren Partner, Ihre Maschine, nach zu benutzen empfange sie, alle bin gut. Dank, Hoffnung macht Abkommen folgendes Mal auch.

—— Maximaler Wille

Zu Beginn sorge mich ich ungefähr, wenn Ihre Firma Lieferung in der Zeit kann, es ausfalle Ihre Firma bin gut, keine Verzögerung, angenehme Zusammenarbeit A.

—— Peter Huang

Nette Zusammenarbeit! Wir schätzten für die nette Unterstützung Ihre Firma auf unseren Projekten. Sehr guter Service.

—— Herr Hussain

Berufszitat, Berufstechnologie, damit wir fristgerechte Waren empfangen, vertrauenswürdige Unternehmen. Hoffnung können wir noch zusammenarbeiten folgendes Mal!

—— Herr Paul Garry

Ich bin online Chat Jetzt

ISO5659-2 Plastic Smoke Density Tester Lab Testing Machine

ISO5659-2 Plastic Smoke Density Tester Lab Testing Machine
ISO5659-2 Plastic Smoke Density Tester Lab Testing Machine ISO5659-2 Plastic Smoke Density Tester Lab Testing Machine ISO5659-2 Plastic Smoke Density Tester Lab Testing Machine ISO5659-2 Plastic Smoke Density Tester Lab Testing Machine ISO5659-2 Plastic Smoke Density Tester Lab Testing Machine

Großes Bild :  ISO5659-2 Plastic Smoke Density Tester Lab Testing Machine

Produktdetails:
Herkunftsort: CHINA
Markenname: DAXIAN
Zertifizierung: ISO9001
Modellnummer: DX8368
Zahlung und Versand AGB:
Min Bestellmenge: ein Satz
Preis: 2000USD
Verpackung Informationen: Holzkoffer
Lieferzeit: 8-10 Arbeitstage
Zahlungsbedingungen: L/C, T/T, D/A, D/P, T/T, Western Union, MoneyGram
Versorgungsmaterial-Fähigkeit: Fünf Sätze pro Monat

ISO5659-2 Plastic Smoke Density Tester Lab Testing Machine

Beschreibung
Maschinenname: Rauchdichteprüfer aus Kunststoff Testen: Kunststoffverbrennung
Externe Dimensionen: Höhe 1680 mm, Breite 1450 mm, Tiefe 850 mm Liefern: AC220V
Gas: Propan Standard: ISO5659-2
Hervorheben:

ISO5659-2 plastic smoke tester

,

lab smoke density machine

,

plastic testing lab equipment

ISO5659-2 Plastic Smoke Density Tester Lab Testing Machine

 

1, Compliant with standards:

Meet the requirements of GB8323.2-2008 "Plastics Smoke Generation Part 2: Single Chamber Method for Determining Smoke Density" and ISO5659.2-2006 "Plastics Smoke Generation Part 2: Single Chamber Method for Determining Optical Density" test standards.

 

2, Scope of application:

Suitable for measuring the specific optical density of smoke generated during plastic combustion, and taking the maximum specific optical density as the test result. It is used to evaluate the smoking performance of plastics under specified conditions.The plastic smoke density tester is a new type of testing equipment developed based on the technical conditions specified in the standard GB/8323.2-2008 and ISO5659-2 "Plastic smoke generation - Part 2: Single chamber method for measuring smoke density".

 

3, Main parameters:

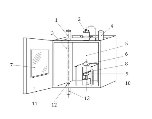
The entire instrument consists of a closed test chamber, a photometer measurement system, a radiation cone, a combustion system, an igniter, a test box, a bracket, a temperature measuring instrument, and smoke density testing software; The circuit is developed using a microcontroller, with high technical content and stable performance. This instrument is suitable for all plastics and can also be used for the evaluation of other materials (such as rubber, textile coverings, painted surfaces, wood, and other materials). It is widely used in production factories and research and testing units in the plastic and solid materials industries.

 

4. Parameters:

(1). Test box: The front door is equipped with a window and an opaque shading plate that can block the movement of the window.
(2). Optoelectronic measurement system: composed of power supply, photomultiplier tube, amplifying transparent plate, optical shutter, filter, neutral transparent plate, lens
The optical system consists of a dark box, a light source, and a light window heater.
(3). Radiation cone: composed of heating elements with a rated power of 2600W, capable of providing at the center of the sample surface
Radiation intensity ranging from 10KW/m2 to 50KW/m2. When testing the radiation illuminance at two other positions 25mm away from the center of the sample
The radiation illuminance at two locations cannot be lower than 85% of the radiation illuminance at the center of the sample.
(4). Igniter: The igniter nozzle is made of a copper tube with a diameter of 4.0mm, and the flame length and horizontal measurement are 30mm.


5. Overall performance:
Transmittance resolution: 0.0001%;
Measurement range: 0-100%; Automatically shift gears during measurement.
Measurement accuracy: ± 3%;
Working voltage: AC200-240V 50Hz;
Environmental humidity: Room temperature -40 ℃
Working environment: When the instrument is running, direct sunlight should be avoided and there should be no forced air flow.
Measurement software: based on WINDOWS XP operating interface and LabVIEW style. Display the transmittance versus time curve. Chinese-English translation
Interface and provide instruction manuals in both Chinese and English.

 

Welcome to visit our factory for sightseeing!

 

Supplier Company Name Daxian Instrument Equipment CO.,Limited
Company Address Changlian Industrial Building, 168 Zhenan West Road, Xiabian Community, Chang'an Town, Dongguan, Guang Dong, China
Contact Person Sophia Su
Tel/ Whatsapp 86-15024082385
Email Daxian02@jiance17.cn

 

ISO5659-2 Plastic Smoke Density Tester Lab Testing Machine 0

 



 

Kontaktdaten
DONGGUAN DAXIAN INSTRUMENT EQUIPMENT CO.,LTD

Ansprechpartner: Sophia Su

Telefon: +86-13266221899

Senden Sie Ihre Anfrage direkt an uns (0 / 3000)